手机:15662672636
电话:15662672636
邮箱:didihay@qq.com
地址:山东省济南市济阳县
发布时间:2025-02-25 点此:23189次

本实用新型涉及升降机构设备技术领域,更具体的,涉及一种自锁式链条升降机构。
背景技术:
升降作业平台是一种多功能升降机械设备,可分为固定式和移动式、导轨式、曲臂式,剪叉式、链条式、装卸平台等。导轨式液压升降货梯一种非剪叉式液压升降货梯,升降货梯的特点导轨式液压升降货梯采用重型链条传动,油丝绳做保险,导轨式液压升降货梯采用液压防爆油管,设有防止超载的安全装置、设有多重限位开关保护、设有开门断电保护装置、设有漏电保护装置、设有多层楼互动连锁,因此导轨式液压升降货梯的安全系数比普通货梯要高很多;是使用非常广泛的货物垂直运输设备。它通过电机驱动油泵,依靠油缸驱动重型链条带动液压升降货梯平升降,由于采用液压作为升降动力,具有载重量大,升降平稳等特点,广泛应用于建筑高层之间货物垂直运送。导轨式液压升降货梯采用油缸和链条传动,运动部件较少,因此维护工作量比剪叉式液压升降货梯要少;导轨式液压升降货梯结构紧凑,采用的轴承比剪叉式液压要少,它的使用寿命要比剪叉式液压升降货梯长很多;导轨式液压升降货梯采用液压传动,因此载重量比较大;导轨式液压升降货梯的传送高度比剪叉式液压升降货梯高很多,可达几十米,稳定性也比剪叉式液压升降货梯好;导轨式液压升降货梯下降采用自身重量和货物重量,因此比普通货梯运行要经济;液压升降货梯采用plc可编程控制器,能实现智能控制和显示、同时线路简单,故障率低。
按照升降机结构的不同分:剪叉式升降机(固定剪叉式升降机、移动式升降机)、套缸式升降机、铝合金(立柱) 式升降机、曲臂式升降机(折臂式的更新换代)、油缸直顶式升降装置、导轨链条式升降机(电梯、货梯)、钢索式液压提升装置。液压油由叶片泵形成一定的压力,经滤油器、隔爆型电磁换向阀、节流阀、液控单向阀、平衡阀进入液缸下端,使液缸的活塞向上运动,提升重物,液缸上端回油经隔爆型电磁换向阀回到油箱,其额定压力通过溢流阀进行调整,通过压力表观察压力表读数值。分类:剪叉式升降机分为移动剪叉式升降机、固定剪叉式升降机;其中移动式的又分为牵引式、自行走人工牵引式。全自行式三大类。导轨链条式升降机是一种非剪叉式液压升降台,用于二层以上工业厂房、餐厅、酒楼货物运输,由于最低高度仅 150-300mm,最实用于不能开挖地坑的工作场所,同时无须上部调点,具有多种形式(单柱、双柱、四柱),动作平稳、操作简单可靠,液压、电器多种货物传输经济、轻松。(具体承载力及升高层数、尺寸可根据用户要求设计制作)用途:主要用各种工作层间货物上下运送;立体车库和地下车库二层以上高楼间、无法开挖地坑场所、顶层高度不能到达要求的场合等比较难解决的狭小空间,产品液压系统设置防坠、上下层门互动连锁,各楼层和升降台工作台面均可设置操作按钮,实现多点控制。
产品结构坚固,承载量大,升降平稳,安装维护简单方便,是经济实用的低楼层间替代电梯的理想货物输送设备。根据升降台的安装环境和使用要求,选择不同的可选配置,可取得更好的使用效果。特点:最大承载100 吨,实现多点控制,上下楼层互动联锁,达到安全使用;提升高度高,采用旁置油缸、或双测式油缸,运行平稳、无噪声、维修方便、使用寿命较长;停电手动下降、紧急停止按钮,方便、快捷、实用;层门可贯通,厂房内外可相互戳开,方便、节省空间;特别适合2-6层钢结构厂房,内外部均可使用。升降机在使用时因为一般都为拉货,重量比较大,所以在升降的同时必须百分百保证升降机构的安全,因此迫切需要一种新型装置来满足这一系列需求。
技术实现要素:
本实用新型主要解决的技术问题是克服的现有的升降机紧急情况制动效果不佳的问题,提供一种自锁式链条升降机构。
为了解决上述技术问题,本实用新型提供了如下的技术方案:
本实用新型提供了一种自锁式链条升降机构,包括机架,所述机架的内部设置有若干导轨,所述机架的底端设置有液压缸,所述液压缸的顶端设置有升降平台,所述升降平台的表面设置有若干起重链条,若干所述起重链条的内部均设置有齿轮,若干齿轮的一侧均设置有小型电动机,若干齿轮的底端均设置有固定架,所述固定架的内部设置有旋转轴,所述旋转轴的四周设置有自锁块,所述自锁块的底端设置有小型液压机,所述自锁块的一侧设置有顶块,所述机架的一侧设置有大型液压机,所述大型液压机的顶端设置有控制器。
在本实用新型一个较佳实施例中,若干所述导轨、所述固定架以及所述大型液压机均与所述机架固定连接。
在本实用新型一个较佳实施例中,所述起重链条的一侧均与所述升降平台铰接,所述起重链条与所述齿轮活动连接。
在本实用新型一个较佳实施例中,所述自锁块与所述旋转轴滑动连接。
在本实用新型一个较佳实施例中,所述顶块和所述旋转轴均与所述固定架通过电焊连接。
在本实用新型一个较佳实施例中,所述自锁块与所述顶块活动连接。
在本实用新型一个较佳实施例中,所述自锁块由高碳钢制成。
本实用新型所达到的有益效果是:通过在固定架的内部设置旋转轴、自锁块、顶块以及小型液压机,使升降平台每升一个链条平台自锁块都将其固定住,极大的增加了升降机的安全,保证了人员以及货物的安全,使用方便,安装简单,从而有效的提高了工作效率。
附图说明
附图用来提供对本实用新型的进一步理解,并且构成说明书的一部分,与本实用新型的实施例一起用于解释本实用新型,并不构成对本实用新型的限制。在附图中:
图1是本实用新型的整体结构示意图;
图2是本实用新型的局部结构示意图;
图3是本实用新型的局部结构示意图;
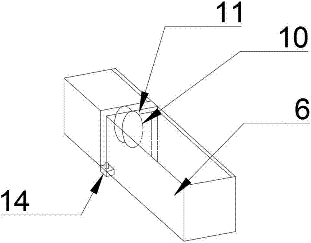
图中:1、机架;2、导轨;3、升降平台;4、齿轮;5、起重链条;6、固定架;7、液压缸;8、大型液压机;9、自锁块;10、旋转轴;11、顶块;12、控制器;13、小型电动机;14、小型液压机。
具体实施方式
以下结合附图对本实用新型的优选实施例进行说明,应当理解,此处所描述的优选实施例仅用于说明和解释本实用新型,并不用于限定本实用新型。
实施例1
如图1-3所示,本实用新型提供一种自锁式链条升降机构,包括机架1,机架1的内部设置有若干导轨2,机架1的底端设置有液压缸7,液压缸7的顶端设置有升降平台3,升降平台3的表面设置有若干起重链条5,若干起重链条5 的内部均设置有齿轮4,若干齿轮4的一侧均设置有小型电动机13,若干齿轮4 的底端均设置有固定架6,固定架6的内部设置有旋转轴10,旋转轴10的四周设置有自锁块9,自锁块9的底端设置有小型液压机14,自锁块9的一侧设置有顶块11,机架1的一侧设置有大型液压机8,大型液压机8的顶端设置有控制器 12。
若干导轨2、固定架6以及大型液压机8均与机架1固定连接,连接方式安全,抱着了安全性能。
起重链条5的一侧均与升降平台3铰接,起重链条5与齿轮4活动连接,便于起重链条5在齿轮4的表面滚动,从而便于提升升降平台3。
自锁块9与旋转轴10滑动连接,便于升降平台3上升时可以直接通过起重链条5与自锁块9之间滑动向上提升。
顶块11和旋转轴10均与固定架6通过电焊连接,连接方式牢固,增加了安全保证。
自锁块9与顶块11活动连接,保证起重链条5上升之后通过自锁块9的一侧与顶块11相互作用保持静止。
自锁块9由高碳钢制成,物理性质好,耐磨性强。
具体的工作时,将机架1、导轨2、固定架6以及升降平台3安装固定好,将自锁块9放入旋转轴10的内部,然后将顶块11和旋转轴10焊接到固定架6 的内部,安装好其他部件之后,接通电源,操作控制器12使大型液压机8推动液压缸7内部的液体上升,同时小型电动机13同步旋转,与升降平台3一起上升,起重链条5提升的同时,自锁块9向上不断旋转使起重链条5上升,每上升一个链条孔,自锁块9就会插入一个新的链条孔,保证控制平台3每一步上升的平稳,达到指定位置后,关闭电源,下落时操作控制器12使大型液压机8慢慢收取液压缸7内部的液体,同时小型液压机14伸上液压杆使自锁块9不在插入链条孔,保证下落的稳定进行,下落到指定位置后,关闭电源。
本实用新型所达到的有益效果是:通过在固定架的内部设置旋转轴、自锁块、顶块以及小型液压机,使升降平台每升一个链条平台自锁块都将其固定住,极大的增加了升降机的安全,保证了人员以及货物的安全,使用方便,安装简单,从而有效的提高了工作效率。
最后应说明的是:以上所述仅为本实用新型的优选实施例而已,并不用于限制本实用新型,尽管参照前述实施例对本实用新型进行了详细的说明,对于本领域的技术人员来说,其依然可以对前述各实施例所记载的技术方案进行修改,或者对其中部分技术特征进行等同替换。凡在本实用新型的精神和原则之内,所作的任何修改、等同替换、改进等,均应包含在本实用新型的保护范围之内。
相关推荐
